

Описание и характеристики
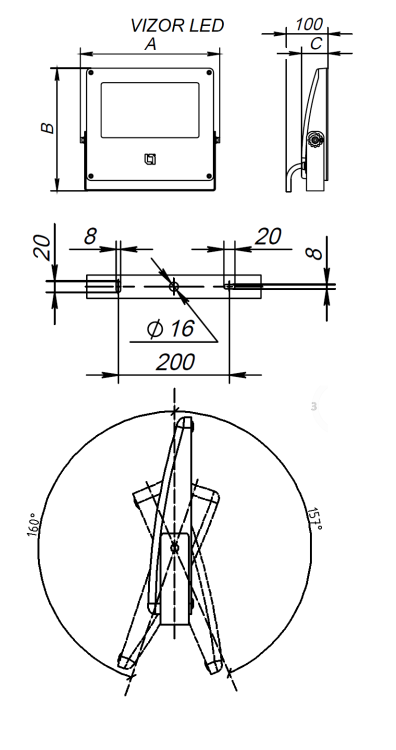
Серия светильников VIZOR LED предназначена для архитектурного освещения. Дизайн и вариативность по цветовой гамме корпуса светильника позволяет размещать его на фасадах зданий, не меняя архитектурный образ объекта. Широкий выбор мощностей и оптических систем делает данный прожектор универсальным решением для самых сложных проектов архитектурного освещения Доступные мощности светильника, Вт: 30, 50. Доступные варианты оптики: A15°,D8°, D15°, D15°x40°, D30°, D50°, D100°. Доступные варианты КЦТ: 2700K, 4000K, RGB, RGBW.
Тип лампы
Светодиод. (LED) несменная
Цоколь (патрон) лампы
Нет (без)
Степень защиты (IP)
IP66
Показать все характеристики